Arrancador estrela triangulo
-
destruidor007
- Curioso

- Mensagens: 32
- Registado: 29 jan 2010, 23:30
- Localização: Faro
Arrancador estrela triangulo
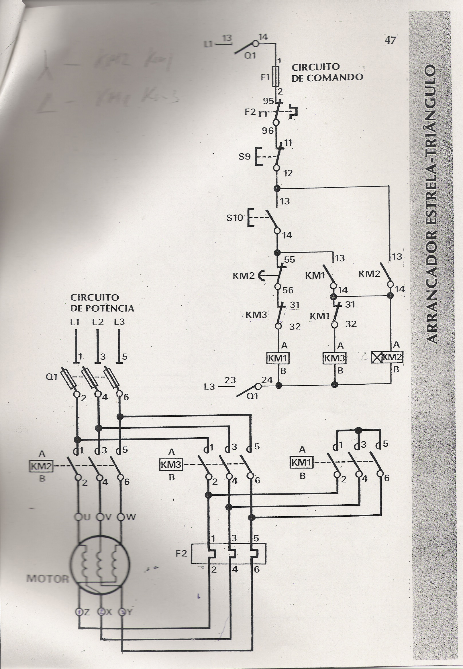
Oi vou colocar aqui um arrancador estrela triangulo para quem precisar.
-
quero aprender
- Velha Guarda

- Mensagens: 1629
- Registado: 07 abr 2008, 13:20
- Localização: alverca
- Enviou: 2 vezes
- Agradecimento recebido: 6 vezes